
普羅格供應鏈物流數字控制塔UPSeek(以下簡稱UPSeek)以大數據、AI、低代碼平臺為技術支撐,搭建支持智慧物流多行業、多企業數據接入的數字控制塔。
UPSeek打通物流全鏈數據,為企業提供訂單、庫存、資源等的全景可視,同時在企業供應鏈執行過程中,對實時作業數據進行監控、問題診斷,基于歷史數據進行特征分析、運營評價和輔助決策,為企業構建一個實時的數字優化和決策中心,幫助企業實現高效、低成本的健康運營。

在上一期中,我們全面而深入地介紹了“UPSeek 空間利用率管理”主題,本期將繼續為大家詳細闡述并探討"人員作業分析"這一主題。
01揭開“人效”的神秘面紗
在快速變革和競爭激烈的商業舞臺上,隨著科技的飛速發展,新質生產力的崛起為企業帶來了前所未有的機遇和挑戰。在這個過程中,物流行業作為連接生產與銷售的重要橋梁,其運營效率的高低直接關系到整個供應鏈的流暢性和成本效益。而人效,作為衡量物流運營效率的重要指標,更是成為了企業關注的焦點。
人效其實就是效率的體現。想象一下,你的倉庫就像一家忙碌的餐廳,員工就像廚師和服務員,人效就是他們服務客人的速度和質量。簡單來說,人效就是衡量你的團隊在倉庫里干活的效率,就像看餐廳里一晚上能服務多少桌客人一樣。
02倉庫作業人效:精細管理的核心
人效,這一看似簡單的概念,在物流行業中承載著舉足輕重的意義。倉庫作業人效,是指單位時間內作業人員在收貨、上架、揀貨、打包等環節的平均處理能力,是衡量員工工作效率和工作效能的標尺。
人效提升依賴于精細化管理
要提高人效,就必須進行精細化的管理。通過精細化的庫位管理、物料分類、倉庫布局和作業流程優化,確保員工在更合理、更高效的環境中工作,減少不必要的浪費和等待時間,從而提高工作效率。同時,精細管理還可以幫助管理者及時發現并解決工作中的問題,確保工作的順利進行。
人效提升是精細化管理的目標
精細管理的最終目標是提高整體運營效率和降低成本,而人效的提升是實現這一目標的重要手段。
人效與精細化管理相互促進
人效的提升和精細管理是相互促進的。一方面,精細管理可以提高人效;另一方面,人效的提升也可以反過來推動精細管理的深入。
倉庫管理,就像指揮一個樂隊,每個人都要在自己的位置上發揮最大的作用。人效就是看我們的倉庫團隊是否每個人都在高效地工作,沒有浪費時間,就像樂隊里每個樂手都在完美地演奏自己的部分。
03揭秘倉庫作業人效的計算方法
計算人效,就像是給倉庫團隊的表現打分,看看每個人在一定時間內完成了多少訂單,或者看看他們工作的質量如何,比如有沒有出錯,或者客戶是否滿意。計算倉儲人效的方法有多種,這些方法都是想得到員工在單位時間內的工作成果,關注員工的效率和生產力,目的都是提高效率,企業可以根據實際情況選擇適合的方法。下面介紹幾種常用的計算方法:
倉庫人員工作量法
適用于對倉庫人員工作負荷的評估,特別是在任務量較大、人員配置需要優化的場景中。
倉庫人員產出法
用于對倉庫人員工作效率和工作質量的全面評估,特別是在關注服務質量和客戶滿意度的場景中。
倉庫人員績效(綜合)評估法
人員績效評估法是一種全面、客觀的評估倉庫人效的方法。通過確定評估指標、收集數據、評分比較和結果應用等步驟,企業可以準確了解倉庫人員的工作效率和績效水平,為優化人員配置、提高工作效率提供有力支持。
04人效提升:企業價值的倍增器
提升倉庫作業人效,就像是給企業裝上了渦輪增壓器,為企業帶來的價值是廣泛而深遠的。首先,它能減少時間和資源的浪費,減少不必要的勞動力成本,進而降低運營成本;其次,通過對倉庫人員的工作量和技能水平的科學評估,可以合理安排工作任務,使每個員工都能發揮最大價值,讓員工更有成就感和滿足感,從而增強員工對企業的忠誠度和歸屬感。
高效的倉庫運作可以鼓勵員工尋找創新解決方案,提高工作效率,推動整個組織的創新氛圍。高人效往往意味著更精確的庫存控制,意味著在相同時間內可以處理更多的訂單,加快貨物周轉,減少過量庫存和缺貨的風險,降低倉儲成本,而且更快的發貨速度和極低的差錯率可以提高客戶滿意度,帶來更多的復購和高效、精益的口碑傳播,有助于塑造專業且值得信賴的品牌形象,提升企業市場競爭力。
05UPSeek——人效提升的得力助手
然而,提升倉庫作業人效并非易事,它需要企業具備先進的管理理念和技術手段,而UPSeek,正是這樣一個得力助手。UPSeek就像是給倉庫管理裝了個智慧大腦。它能讓管理者實時看到每個人的工作狀態,就像是有個智能助手在旁邊告訴你,誰做得好,誰需要幫助。
UPSeek,作為一款集智能化、數據化、可視化于一體的物流控制塔產品,能夠實時監控倉庫作業的全過程,提供準確、全面的數據支持。通過UPSeek,企業可以清晰地看到每個員工的工作狀態、工作效率以及存在的問題,從而制定出更加科學、合理的管理策略。
入庫、出庫作業可視,快速識別問題
通過UPSeek入出庫看板,不僅可以看到入出庫整體進度,還能詳細展示每一個環節的作業進度。看板會高亮顯示發生異常的環節或作業,這些異常包括超時、錯誤、設備故障等。當系統監測到超時異常時,管理者可點擊下鉆到訂單超時統計與分析界面,查看具體是哪個環節、哪個區域、哪個作業崗、哪個人作業超時。
? ? ? ?倉庫時效性與超時情況分析
通過細致地對比和分析作業環節的時效性與超時情況,管理者能夠更加清晰地看到倉庫管理優化措施帶來的實際效果。這種對比分析不僅有助于管理者準確評估改進措施的有效性,還能為后續的優化提供有力的數據支持。

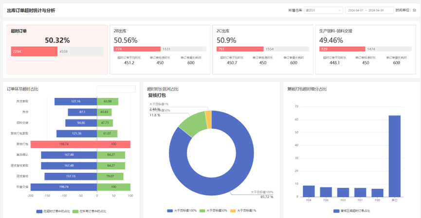
? ? ? ? ? ? ? ? ? ? ? ? ? ? ? ? ? ? ? ? ? ? ? ? ? ? ? ? ? ? ? ? ? ? ? ?出庫訂單超時統計與分析

? ? ? ? ? ? ? ? ? ? ? ? ? ? ? ? ? ? ? ? ? ? ? ? ? ? ? ? ? ? ? ? ? ? ??
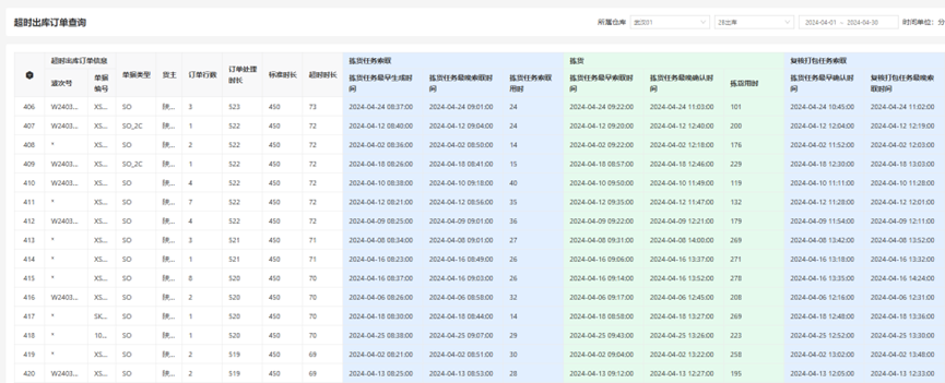
精準識別訂單超時關鍵因素
通過訂單超時統計與分析界面可下鉆到超時訂單查詢界面,在這個界面,管理者可以查看訂單超時排名情況,每個訂單在各環節的作業用時情況,進一步結合單量、人效數據分析,管理者可以更準確地識別出導致訂單超時的關鍵因素。基于這些分析,倉庫可以針對性地優化流程,減少超時情況的發生。

? ? ? ? ? ? ? ? ? ? ? ? ? ? ? ? ? ? ? ? ? ? ? ? ? ? ? ? ? ? ? ? ? ? ? ? ? ? ? ??
優化人效作業效率,精準資源配置
針對入出庫各環節都有細致深入的人效分析。首先,管理者可以通過環節平均人效了解整體作業的執行效率;其次,通過對比不同區域的人效數據,管理者可以清晰地看到各個區域在作業人效方面的達標情況。
這種對比分析不僅能幫助我們識別出高效和低效區域,還能為后續的資源配置和人員調度提供有力依據;此外,UPSeek還對每天的人效數據進行趨勢分析。
精準分析人效波動原因并提出改進建議
通過分析日期區間內單日以及單日不同時間段內人效數據的變化,管理者能夠更準確地掌握人效的高峰和低谷時段,結合實際情況,分析出人效波動的原因,如工作量變化、員工疲勞度、設備故障等,從而為后續的改進措施提供有針對性的建議。

? ? ? ? ? ? ? ? ? ? ? ? ? ? ? ? ? ? ? ? ? ? ? ? ? ? ? ? ? ? ? ? ? ? ? ? ? ? ??
定制員工效率評估標準,監控達標情況
UPSeek支持為不同崗位制定不一樣的人效評估標準,監控每一位員工的效率達標情況。通過全倉所有崗位的人效達標率的統計,可進一步查看每個員工的人效情況。
如借助時段人效達標情況,了解員工在不同工作強度下的效率表現,更合理地安排員工工作時間和任務分配;如借助員工人效日趨勢分析,了解員工效率的變化趨勢和潛在問題,及時發現員工效率下滑的情況,并提供必要的支持和幫助。

? ? ? ? ? ? ? ? ? ? ? ? ? ? ? ? ? ? ? ? ? ? ? ? ? ? ? ? ? ? ? ? ? ? ? ? ?
員工工作量排行,構建積極工作環境
崗位人員工作量排行不僅對員工具有顯著的正向激勵作用,還能極大地激發員工提升自身工作效率的動力,促使他們積極爭取評優的榮譽。同時,人員工作量排行也可以作為員工績效考核的重要參考依據,為表現突出的員工提供明確的晉升機會和豐厚的獎勵,從而構建一個更加公平、公正、積極向上的工作環境。

? ? ? ? ? ? ? ? ? ? ? ? ? ? ? ? ? ? ? ? ? ? ? ? ? ? ? ? ? ? ? ? ? ? ? ? ? ? ? ??
此外,UPSeek還能通過智能算法對倉庫作業進行優化,自動分配工作任務、調整工作流程,確保每個員工都能在最短的時間內完成最多的工作。這樣不僅能提高員工的工作效率,還能減少因人為因素導致的錯誤和浪費。
在這個追求效率的時代,如果您正在為如何提高倉庫作業人效而煩惱,不妨考慮引入物流控制塔產品,它將為您的物流事業帶來一場效率革命!